本实用新型涉及臭氧检测仪技术领域,尤其为一种泵吸式臭氧检测仪,包括检测仪本体,所述检测仪本体的前端面顶部处设置有显示屏,所述检测仪本体的前端面位于显示屏的下方设置有控制按键,所述检测仪本体的顶部中间位置安装有进气口,所述进气口内部顶端处设置有限位卡槽,所述限位卡槽内设置有过滤棉,所述进气口上连接有进气筒,所述进气筒包括与进气口螺纹连接的连接套以及设置在连接套的顶部并与之连通的进气管,所述连接套的内径大于进气管的内径,所述检测仪本体顶部还设置有用于防护进气口和进气筒的防护机构,本实用新型使得检测仪具备存储气体的功能,便于将气体带回实验室进一步检测,提高检测结果精准度。
臭氧又称为超氧,是氧气的同素异形体,在常温下,它是一种有特殊臭味的淡蓝色气体,臭氧在常温常压下,稳定性较差,可自行分解为氧气。臭氧具有青草的味道,吸入少量对人体有益,吸入过量对人体健康有一定危害,臭氧被广泛应用于医学、农业、餐饮业、杀菌、除甲醛等领域,但空气中臭氧浓度含量过高也容易对人体造成损害,为此需要在应用的同时还需要对空气中臭氧的含量进行检测以确保其在安全可控的使用范围内。
现有的泵吸式臭氧检测仪在使用时空气中的灰尘颗粒和水汽会被吸入内部,影响检测结果,灰尘颗粒和水汽残留在检测仪内部也会导致设备损坏,且不具备将检测气体存储的功能,且检测仪的吸气口通常都是裸露在外部,导致吸气口容易碰撞损坏,因此需要一种泵吸式臭氧检测仪对上述问题做出改善。
实用新型内容
本实用新型的目的在于提供一种泵吸式臭氧检测仪,以解决上述背景技术中提出的问题。
为实现上述目的,本实用新型提供如下技术方案:
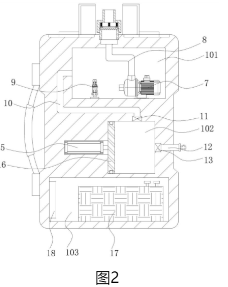
一种泵吸式臭氧检测仪,包括检测仪本体,所述检测仪本体的前端面顶部处设置有显示屏,所述检测仪本体的前端面位于显示屏的下方设置有控制按键,所述检测仪本体的顶部中间位置安装有进气口,所述进气口内部顶端处设置有限位卡槽,所述限位卡槽内设置有过滤棉,所述进气口上连接有进气筒,所述进气筒包括与进气口螺纹连接的连接套以及设置在连接套的顶部并与之连通的进气管,所述连接套的内径大于进气管的内径,所述检测仪本体顶部还设置有用于防护进气口和进气筒的防护机构,所述检测仪本体内部顶端处设置有气体检测室,所述气体检测室内设置有微型气泵和臭氧传感器,所述微型气泵与进气口之间通过吸气管连接,所述气体检测室的下方设置有气体存储室,所述气体存储室与气体检测室之间通过输气管连接,所述输气管与气体存储室的连接处设置有第一电磁阀,所述气体存储室一侧连接有排气管,所述排气管与气体存储室的连接处设置有第二电磁阀,所述气体存储室的下方设置有安装槽,所述安装槽内设置有蓄电池和控制主板,所述蓄电池与控制主板电连接,所述控制主板与显示屏、控制按键、微型气泵、臭氧传感器、第一电磁阀以及第二电磁阀电连接。
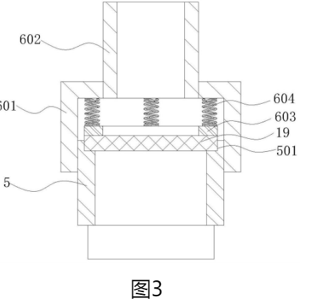
优选的,所述连接套的内部设置有中空环板,所述中空环板的外径小于过滤棉的直径,所述中空环板的顶部与连接套的内部顶端之间沿圆周方向等间距安装有多个弹簧。
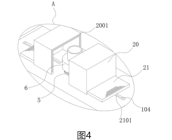
优选的,所述防护机构包括设置在进气口两侧的防护罩,所述防护罩靠近进气口的一端呈开口状,两个所述防护罩可形成一个完整的罩体,两个所述防护罩的相对面均嵌入安装有吸合块,两个所述防护罩相背离一端的底端处均连接有移动板,所述检测仪本体顶部位于进气口的两侧均设置有滑槽,所述移动板的底部设置有滑块,所述移动板与检测仪本体之间通过滑块和滑槽滑动连接。
优选的,其中一个所述吸合块为磁铁,另一个所述吸合块为铁片。
优选的,所述移动板的顶部设置有防滑条纹。
优选的,所述气体存储室远离排气管的一侧安装有电动伸缩杆,所述电动伸缩杆的推杆端置于气体存储室内并连接有活塞。
优选的,所述排气管远离气体存储室的一端贯穿检测仪本体并设置有密封塞。
优选的,所述检测仪本体远离排气管的一侧安装有手持带。
与现有技术相比,本实用新型的有益效果是:
1.本实用新型中,通过设置的微型气泵工作将气体从进气筒吸入,吸入的气体通过过滤棉过滤其中的灰尘颗粒和水汽,避免影响检测结果,气体通过进气口和吸气管进入气体检测室内部,通过臭氧传感器检测气体中的臭氧的含量,并在显示屏上显示,然后通过第一电磁阀打开,第二电磁阀关闭,通过输气管将气体输送到气体存储室内,再通过第一电磁阀关闭将气体存储在气体存储室内,使得检测仪具备存储气体的功能,便于将气体带回实验室进一步检测,提高检测结果精准度。
2.本实用新型中,通过设置的防护机构,在检测仪不使用时,通过将两个移动板向靠近进气口的方向移动,使得两个防护罩的开口端重合,而两个防护罩通过吸合块吸合在一起形成一个完整的罩体,将进气口和进气筒罩在内部防护起来,避免进气口和进气筒裸露在外部导致损坏,防护效果较好。
3.本实用新型中,通过设置的弹簧将中空环板压紧在过滤棉上,提高过滤棉的固定效果,避免过滤棉脱离限位卡槽影响过滤效果,且连接套与进气口螺纹连接,便于进气筒的安装和拆卸,方便对过滤棉进行更换。
附图说明
图1为本实用新型一种泵吸式臭氧检测仪的整体结构示意图;

图2为本实用新型一种泵吸式臭氧检测仪的内部结构示意图;

图3为本实用新型一种泵吸式臭氧检测仪的进气口和进气筒剖面图;

图4为图1中的A区结构放大示意图。

图中:1、检测仪本体;101、气体检测室;102、气体存储室;103、安装槽;104、滑槽;2、显示屏;3、控制按键;4、手持带;5、进气口;501、限位卡槽;6、进气筒;601、连接套;602、进气管;603、中空环板;604、弹簧;7、微型气泵;8、吸气管;9、臭氧传感器;10、输气管;11、第一电磁阀;12、排气管;13、第二电磁阀;14、密封塞;15、电动伸缩杆;16、活塞;17、蓄电池;18、控制主板;19、过滤棉;20、防护罩;2001、吸合块;21、移动板;2101、滑块。
具体实施方式
下面将结合本实用新型实施例中的附图,对本实用新型实施例中的技术方案进行清楚、完整地描述,显然,所描述的实施例仅仅是本实用新型一部分实施例,而不是全部的实施例,基于本实用新型中的实施例,本领域普通技术人员在没有做出创造性劳动前提下所获得的所有其他实施例,都属于本实用新型保护的范围。
为了便于理解本实用新型,下面将参照相关附图对本实用新型进行更全面的描述。附图中给出了本实用新型的若干实施例。但是,本实用新型可以以许多不同的形式来实现,并不限于本文所描述的实施例。相反地,提供这些实施例的目的是使对本实用新型的公开内容更加透彻全面。
需要说明的是,当元件被称为“固设于”另一个元件,它可以直接在另一个元件上或者也可以存在居中的元件。当一个元件被认为是“连接”另一个元件,它可以是直接连接到另一个元件或者可能同时存在居中元件。本文所使用的术语“垂直的”、“水平的”、“左”、“右”以及类似的表述只是为了说明的目的。
除非另有定义,本文所使用的所有的技术和科学术语与属于本实用新型的技术领域的技术人员通常理解的含义相同。本文中在本实用新型的说明书中所使用的术语只是为了描述具体的实施例的目的,不是旨在于限制本实用新型。本文所使用的术语“及/或”包括一个或多个相关的所列项目的任意的和所有的组合。
请参阅图1-4,本实用新型提供一种技术方案:
一种泵吸式臭氧检测仪,包括检测仪本体1,检测仪本体1的前端面顶部处设置有显示屏2,检测仪本体1的前端面位于显示屏2的下方设置有控制按键3,检测仪本体1的顶部中间位置安装有进气口5,进气口5内部顶端处设置有限位卡槽501,限位卡槽501内设置有过滤棉19,进气口5上连接有进气筒6,进气筒6包括与进气口5螺纹连接的连接套601以及设置在连接套601的顶部并与之连通的进气管602,连接套601的内径大于进气管602的内径,检测仪本体1顶部还设置有用于防护进气口5和进气筒6的防护机构,检测仪本体1内部顶端处设置有气体检测室101,气体检测室101内设置有微型气泵7和臭氧传感器9,微型气泵7与进气口5之间通过吸气管8连接,气体检测室101的下方设置有气体存储室102,气体存储室102与气体检测室101之间通过输气管10连接,输气管10与气体存储室102的连接处设置有第一电磁阀11,气体存储室102一侧连接有排气管12,排气管12与气体存储室102的连接处设置有第二电磁阀13,气体存储室102的下方设置有安装槽103,安装槽103内设置有蓄电池17和控制主板18,蓄电池17与控制主板18电连接,控制主板18与显示屏2、控制按键3、微型气泵7、臭氧传感器9、第一电磁阀11以及第二电磁阀13电连接,本实用新型通过设置的微型气泵7工作将气体从进气筒6吸入,吸入的气体通过过滤棉19过滤其中的灰尘颗粒和水汽,避免影响检测结果,气体通过进气口5和吸气管8进入气体检测室101内部,通过臭氧传感器9检测气体中的臭氧的含量,并在显示屏2上显示,然后通过第一电磁阀11打开,第二电磁阀13关闭,通过输气管10将气体输送到气体存储室102内,再通过第一电磁阀11关闭将气体存储在气体存储室102内,使得检测仪具备存储气体的功能,便于将气体带回实验室进一步检测,提高检测结果精准度。
本实施例中,请参照图3,连接套601的内部设置有中空环板603,中空环板603的外径小于过滤棉19的直径,中空环板603的顶部与连接套601的内部顶端之间沿圆周方向等间距安装有多个弹簧604,通过设置的弹簧604将中空环板603压紧在过滤棉19上,提高过滤棉19的固定效果,避免过滤棉19脱离限位卡槽501影响过滤效果,且连接套601与进气口5螺纹连接,便于进气筒6的安装和拆卸,方便对过滤棉19进行更换。
本实施例中,请参照图1和图4,防护机构包括设置在进气口5两侧的防护罩20,防护罩20靠近进气口5的一端呈开口状,两个防护罩20可形成一个完整的罩体,两个防护罩20的相对面均嵌入安装有吸合块2001,两个防护罩20相背离一端的底端处均连接有移动板21,检测仪本体1顶部位于进气口5的两侧均设置有滑槽104,移动板21的底部设置有滑块2101,移动板21与检测仪本体1之间通过滑块2101和滑槽104滑动连接,其中一个吸合块2001为磁铁,另一个吸合块2001为铁片,在检测仪不使用时,通过将两个移动板21向靠近进气口5的方向移动,使得两个防护罩20的开口端重合,而两个防护罩20通过吸合块2001吸合在一起形成一个完整的罩体,将进气口5和进气筒6罩在内部防护起来,避免进气口5和进气筒6裸露在外部导致损坏,使用时,只需通过移动板21将两个防护罩20打开即可。
本实施例中,请参照图4,移动板21的顶部设置有防滑条纹,通过设置的防滑条纹增大摩擦力,便于移动板21的移动使用。
本实施例中,请参照图2,气体存储室102远离排气管12的一侧安装有电动伸缩杆15,电动伸缩杆15的推杆端置于气体存储室102内并连接有活塞16,在气体存储室102内的气体排出时,通过将第二电磁阀13打开,然后控制电动伸缩杆15伸张推动活塞16在气体存储室102内移动,使得能够将气体存储室102内的气体全部从排气管12排出。
本实施例中,请参照图1,排气管12远离气体存储室102的一端贯穿检测仪本体1并设置有密封塞14,通过设置的密封塞14避免排气管12处被灰尘污染。
本实施例中,请参照图1,检测仪本体1远离排气管12的一侧安装有手持带4,通过设置的手持带4便于操作人员手持式使用,提高使用便捷性。
本实用新型工作原理:使用时,通过控制按键3控制微型气泵7工作将气体从进气筒6吸入,吸入的气体通过过滤棉19过滤其中的灰尘颗粒和水汽,避免影响检测结果,气体通过进气口5和吸气管8进入气体检测室101内部,通过臭氧传感器9检测气体中的臭氧的含量,并在显示屏2上显示,然后通过第一电磁阀11打开,第二电磁阀13关闭,通过输气管10将气体输送到气体存储室102内,再通过第一电磁阀11关闭将气体存储在气体存储室102内,在将检测仪带回实验室后,将密封塞14拔下,通过将第二电磁阀13打开,然后控制电动伸缩杆15伸张推动活塞16在气体存储室102内移动,使得能够将气体存储室102内的气体全部从排气管12排出,使得检测仪具备存储气体的功能,便于将气体带回实验室进一步检测,提高检测结果精准度,在检测仪不使用时,通过将两个移动板21向靠近进气口5的方向移动,使得两个防护罩20的开口端重合,而两个防护罩20通过吸合块2001吸合在一起形成一个完整的罩体,将进气口5和进气筒6罩在内部防护起来,避免进气口5和进气筒6裸露在外部导致损坏,防护效果较好。
尽管已经示出和描述了本实用新型的实施例,对于本领域的普通技术人员而言,可以理解在不脱离本实用新型的原理和精神的情况下可以对这些实施例进行多种变化、修改、替换和变型,本实用新型的范围由所附权利要求及其等同物限定。

